Zawór kulowy PERFEXIM 111-1 15 z zaworem zwrotnym
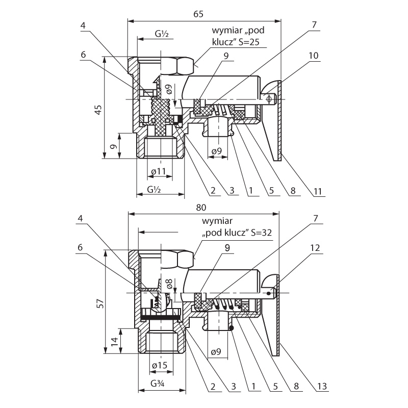
Zawory bezpieczeństwa z zaworem zwrotnym i spustem są przeznaczone do zabezpieczania przed nadmiernym wzrostem ciśnienia oraz utrzymywania jednego kierunku przepływu w grzewczych instalacjach wody o maksymalnej temperaturze roboczej +100 °C. W przypadku wzrostu ciśnienia roboczego ponad dopuszczalne (pn=0,7 MPa) następuje upust cieczy poprzez króciec spustowy. Zawory bezpieczeństwa z zaworem zwrotnym muszą być montowane zgodnie z kierunkiem przepływu czynnika roboczego oznakowanego strzałką na kadłubie. Ciśnienie nastawy (otwarcia) zaworu bezpieczeństwa pn=0,7 MPa, nastawione jest fabrycznie w sposób trwały bez możliwości regulacji. Do zabezpieczenia przed przywarciem uszczelki grzybka zaworu bezpieczeństwa (9) do siedziska w kadłubie, np. pod wpływem osadzającego się kamienia należy okresowo (co 10 dni) za pomocą dźwigni (11) lub (13) dokonać uniesienia grzybka (7).
Dane techniczne
Model
z zaworem zwrotnym
Znamionowa średnica wewnętrzna połączenia 1
15
Do pobrania
Dane logistyczne
Opakowanie zbiorcze 3
Ilość
150








