Kupuj, montuj i zgarniaj punkty! Sprawdź aktualne akcje w Programie PIK!
 

TECEprofil - mocowanie stelaża podtynkowego narożnikowe, regulacja kąta montażu od 0 do 45 stopni

Kod IK

J19380003

Kod EAN

4027255005617

Kod producenta

9380003

Marka

TECE

Model

profil

Cena katalogowa netto

108,27 zł / szt.

Cena katalogowa brutto

133,17 zł / szt.

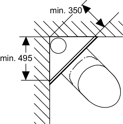
TECEprofil mocowanie stelaża do montażu narożnego pod dowolnym kątem
Do mocowania narożnego modułów TECE z przodu ściany narożnej. Przy wszystkich stelażach istnieje opcja montażu narożnikowego wymagającego niewiele miejsca, łącznie z podłączeniem pionów kanalizacyjnych, wentylacyjnych lub zasilających za stelażem.
Składa się z:
Dwóch mocowań ściennych do montażu narożnego o zmiennym kącie
Materiałów montażowych do montażu przed ścianą