Uponor RS adapter S-Press PLUS 25-RS2
System rurowy z polibutenu i wielowarstwowego kompozytu (ML) oraz kształtki z PPSU i mosiądzu łączone przy użyciu unikalnych adaptorów modułowych
Specyfikacja
- Z tuleją zaprasowywaną- Pierścień oporowy- Kod kolorystyczny- Przetestowano pod kątem bezpieczeństwa
Podanie
- Woda użytkowa: temperatura pracy w trybie ciągłym wynosi od 0°C do 70°C przy maksymalnym stałym ciśnieniu roboczym 10 barów. Krótkotrwała temperatura w przypadku nieprawidłowego działania wynosi 95°C przez 100 godzin w ciągu całego okresu eksploatacji- Ogrzewanie: temperatura pracy w trybie ciągłym wynosi do 80°C przy maksymalnym stałym ciśnieniu roboczym 10 barów. Krótkotrwała temperatura w przypadku nieprawidłowego działania wynosi 100°C przez 100 godzin w ciągu całego okresu eksploatacjiJeśli nie podano inaczej:- Gwint zewnętrzny i wewnętrzny zgodny z normą EN 10226-1
Potwierdzenie
Certyfikaty:- Atest higieniczny PZH- Deklaracja DoP
Wymiary
- Szerokość jednostki elementu: 70
- Item_UOM: szt.
- Masa jednostkowa przedmiotu: 0,36
- Długość jednostki przedmiotu: 75
- Wysokość jednostki przedmiotu: 70
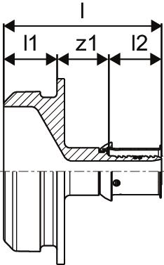
Pomiary
- z1: 26,5
- DŁUGOŚĆ_L: 74,9
- Długość (l2): 28,3
- Długość (l1): 20,1
Dane logistyczne
Opakowanie zbiorcze 1
Jednostka zbiorcza opak.
opak
Masa brutto [kg]
0,415
Długość [m]
0,12
Szerokość [m]
0,1
Wysokość [m]
0,08
Opakowanie zbiorcze 2
Jednostka zbiorcza opak.
paleta
Ilość
378
Masa brutto [kg]
176,87
Długość [m]
0,8
Szerokość [m]
1,2
Wysokość [m]
0,6


